辨認有源晶振從引腳著手
來源:http://www.worldtalentltd.com 作者:yijindz 2012年05月29
億金電子致力于晶振行業,代理進口晶振,石英振蕩器,有源晶振,壓控晶振
有源晶振是由石英晶體組成的,石英晶片之所以能當振蕩器使用,是基于它的壓電效應,有源晶振不需要CPU的內部振蕩器,信號質量好,比較穩定,而且連接方式相對簡單,不需要復雜的配置電路,相對于無源晶振,有源晶振的缺點是其信號電平是固定的需要選擇好合適輸出電壓,靈活性較差,而且價格高。
有源晶振型號很多,而且每一種型號的引腳定義都是大同小異,接法也有所不同。
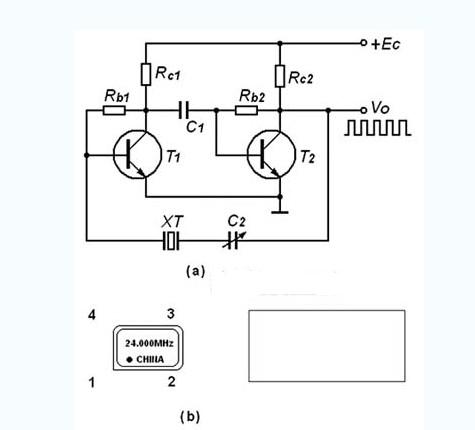
如下圖有個點標記的為1腳,按逆時針(管腳向下)分別主2、3、4.有源晶振通常的用法:一腳懸空,二腳接地,三腳接輸出,四腳接電壓。
有源晶振是由石英晶體組成的,石英晶片之所以能當振蕩器使用,是基于它的壓電效應,有源晶振不需要CPU的內部振蕩器,信號質量好,比較穩定,而且連接方式相對簡單,不需要復雜的配置電路,相對于無源晶振,有源晶振的缺點是其信號電平是固定的需要選擇好合適輸出電壓,靈活性較差,而且價格高。
有源晶振型號很多,而且每一種型號的引腳定義都是大同小異,接法也有所不同。
如下圖有個點標記的為1腳,按逆時針(管腳向下)分別主2、3、4.有源晶振通常的用法:一腳懸空,二腳接地,三腳接輸出,四腳接電壓。

正在載入評論數據...
相關資訊
- [2024-11-09]溫度補償晶體振蕩器 JT21LE,功耗極低...
- [2023-06-26]Rakon推出RakonXpress品牌的現成頻率...
- [2023-06-20]Cardinal晶振公司環境政策,CSM1Z-A0B...
- [2023-06-20]Cardinal晶振ROSH證明,CX532Z-A2B3C5...
- [2023-06-17]為什么選擇ClearClock有源晶振,AK2AD...
- [2021-01-21]低功耗性能且含數字溫度補償的時鐘IC...
- [2020-12-04]TXC晶振車規級頻率組件最新產品應用方...
- [2020-10-19]石英振蕩器系列六——產品未來應用市...